发布者:港智优留学 发布时间:2025-12-22 15:03 热度:65
哪所大学最好找工作?2026年THE世界大学就业力排名发布!
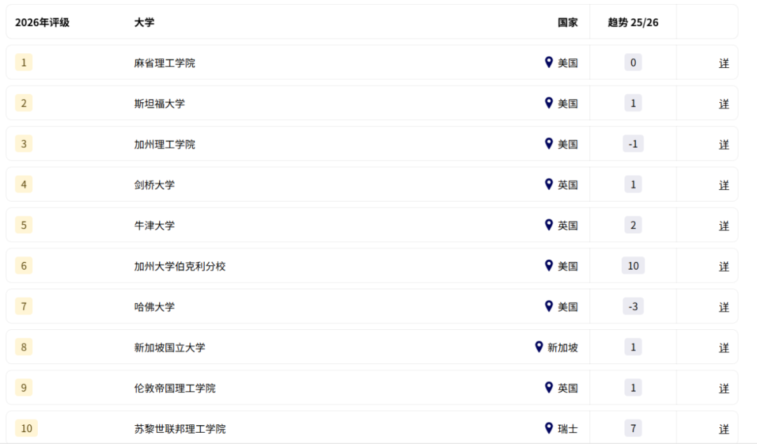
告诉你去哪里上学最好找工作!
法国咨询公司Emerging与泰晤士高等教育(THE)共同发布了2026世界大学就业力排名,为大家揭晓了全球雇主青睐的250所大学!
本次排名共收集了来自32个国家、12350家雇主的119967张选票,是完全基于雇主直接评估的就业力排名榜单。 排名标准 工作专业知识:与工作行业有关的知识和技能中的解决方案 数字思维:能够利用数字化技术,提供工作 毕业生技能:具有基础的沟通、批判性思维和解决问题的能力 国际性:适应全球环境,能在全球化的团队中工作 专业化:通过高等教育或行业经验,在特定领域具有扎实的专业知识 学术卓越:具有较高的学术表现,体现在个人学术环境中的知识应用和有效表现
TOP10 世界前10里有7所是美国高校,3所英国,1所新加坡,1所瑞士。 美英老牌学校的实力还是很过硬的。 英国 英国共有16所高校上榜,其中剑桥大学和牛津大学拔得头筹,分别排第4和第5。 作为老牌留学地区,英国学历的就业认可度还是非常高的,我们常提到的G5和王爱曼华基本都榜上有名。 新加坡 新加坡共有2所高校上榜,不如意外的新国立和南洋理工。 新国立排第8,进入了世界TOP10,南洋理工排行23。 澳大利亚 澳洲依然占据排名上的优势,共有10所大学上榜,学历含金量还是不低的。 其中最高的两所,墨尔本大学排第38名,澳大利亚国立大学排第39名。
中国 中国大陆共有12所高校上榜。 其中北大排第12,清华16,复旦,上海教大,浙大中科大等也全都在Top100的名次里。 这些年国内办学实力提升,国际认可度也进一步增强! 另外中国香港地区高校排名也很亮眼,香港科技大学和香港大学分别排25和42。 TOP100院校 以上就是这次THE排名的情报啦,接下来也会继续整理第一情报,也会整理各学校和专业的申请信息,需要的欢迎滴滴哦~













「标准化&院校排名&专业选择&文书套磁」